Стабилизатор передний замена втулок NISSAN JUKE F15

Стабилизатор передний замена втулок NISSAN JUKE F15

Стоимость работ:
6 540 

Запчасти и расходники

Наименование Производитель Номер Стоимость
Втулка стабилизатора задняя Nissan 350Z, JUKE F15, G35, M35, M45 NISSAN (GLOBAL) 54613EG020 580 руб.
Втулка стабилизатора переднего NISSAN JUKE F15 / QASHQAI J10 54613JG03A NISSAN (GLOBAL) 54613JG03A 800 руб.
Втулка стабилизатора переднего Nissan JUKE F15 (D'21) NISSAN (GLOBAL) 54613JD04A 770 руб.

Стабиилизаатор перед замена на автомобиле NISSAN JUKE F15

Замена втулок переднего стабилизатора JUKE F15

Появились стуки в передней подвеске при проезде неровностей? Заметили ухудшение курсовой устойчивости в поворотах или повышенные крены кузова? Автомобиль стало «рыскать» по дороге при смене покрытия? Не игнорируйте признаки износа элементов подвески! Своевременная замена сайлентблоков стабилизатора обеспечивает точную управляемость, курсовую устойчивость и безопасность в поворотах.

Основные признаки износа втулок стабилизатора:

  • Характерные стуки в передней подвеске при проезде мелких неровностей
  • Увеличение кренов кузова в поворотах
  • Неустойчивость автомобиля при движении по прямой
  • Скрипы в передней подвеске при раскачивании автомобиля
  • Видимые повреждения или растрескивание резиновых элементов
  • Люфт в соединениях стабилизатора

Процедура замены включает:

  • Диагностику состояния передней подвески и стабилизатора
  • Демонтаж колес для обеспечения доступа к узлам подвески
  • Обработку резьбовых соединений проникающей смазкой
  • Отсоединение стоек стабилизатора от стабилизатора поперечной устойчивости
  • Демонтаж стабилизатора с креплений
  • Прессовый демонтаж изношенных сайлентблоков
  • Очистку посадочных мест стабилизатора
  • Прессовую установку новых оригинальных сайлентблоков
  • Монтаж стабилизатора на штатные места крепления
  • Регулировку момента затяжки резьбовых соединений
  • Контроль состояния смежных элементов подвески
  • Проверку работы подвески на подъемнике
  • Тестовый заезд для оценки устранения неисправностей

Техническое примечание:

Втулки переднего стабилизатора Juke F15 выполняют функцию демпфирования и изоляции вибраций. Резинометаллические элементы со временем теряют эластичность, что приводит к увеличению кренов кузова и ухудшению управляемости. Особое внимание требуется к правильному позиционированию новых втулок при установке.

Замена стабилизатора NISSAN JUKE F15

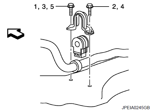
стабилизатор схема установки NISSAN JUKE
  1. Стойка стабилизатора поперечной устойчивости
  2. Зажим стабилизатора поперечной устойчивости
  3. Втулка стабилизатора поперечной устойчивости
  4. Шатун стабилизатора поперечной устойчивости
  5. Стойка в сборе
  6. Элемент передней подвески
  • Изображение гаечного ключа указывает момент затяжки

Как снять стабилизатор NISSAN JUKE ?

  • 1. Снимите колеса.
  • 2. Снимите элемент передней подвески.
  • 3. Снимите шатун стабилизатора.
  • 4. Выверните крепежные болты ( указаны стрелками ) крепления стабилизатора, а затем снимите крепление стабилизатора и втулку стабилизатора с элемента передней подвески.
  • 5. Снимите стабилизатор поперечной устойчивости.
  • 6. После снятия проведите осмотр.

Как установить стабилизатор NISSAN JUKE ?

Обратите внимание на следующее и устанавливайте в порядке, обратном снятию.

  • Установите зажим стабилизатора и втулку стабилизатора так, чтобы выемка (A) и прорезь (B) были обращены к передней части автомобиля ( направление указано стрелкой ).
  • Чтобы установить крепежный болт зажима стабилизатора, следуйте методу затяжки и порядку цифр, указанному ниже:
    • Ручная затяжка: 1
    • Временная затяжка: 2 → 3
    • Окончательная затяжка (заданный момент затяжки): 4 → 5
  • Изображение стрелки указывает на перед автомобиля
  • Чтобы установить шаровая опора или шатун стабилизатора (1), затяните крепежную гайку, закрепив шестигранную деталь (А) со стороны шатуна стабилизатора.
  • Выполните окончательную затяжку болтов и гаек в месте установки автомобиля (резиновая втулка) при порожних шинах на ровной поверхности.
  • После установки выполните проверку.