Ступица перед замена NISSAN JUKE F15

Ступица перед замена NISSAN JUKE F15

Стоимость работ:
4 380 

Передняя ступица замена на автомобиле NISSAN JUKE F15

Замена передней ступицы JUKE F15

Появился гул или гудение от передних колес, усиливающийся при повороте? Слышен стук в передней подвеске или ощущается вибрация на руле при движении? Заметили неравномерный износ шин или проблемы с работой системы ABS? Не откладывайте ремонт! Неисправная ступица не только снижает комфорт управления, но и влияет на безопасность, нарушая работу систем ABS и курсовой устойчивости.

Основные симптомы неисправности передней ступицы:

  • Постоянный гул от передних колес, меняющий тональность в поворотах
  • Вибрация на рулевом колесе и кузове при движении
  • Щелчки или стуки при маневрировании на малой скорости
  • Ошибки системы ABS и курсовой устойчивости
  • Люфт колеса при покачивании в горизонтальной плоскости
  • еравномерный износ протектора шин

Процедура замены включает:

  • Диагностику состояния ступичного узла и смежных компонентов
  • Демонтаж колеса, тормозного суппорта и ротора
  • Снятие датчика ABS с сохранением его работоспособности
  • Отсоединение ступицы от поворотного кулака
  • Использование гидравлического пресса для демонтажа старой ступицы
  • Очистку посадочных поверхностей от коррозии и загрязнений
  • Установку новой ступицы с применением прессового оборудования
  • Монтаж всех снятых компонентов с использованием динамометрического ключа
  • Проверку работы ABS и систем активной безопасности
  • Контроль углов установки колес

Техническое примечание:

Передняя ступица Juke F15 представляет собой сложный узел, объединяющий ступичный подшипник и датчики ABS. Конструкция предусматривает использование ступицы в сборе с подшипником, что требует применения специального прессового оборудования для замены.

Замена передней ступицы NISSAN JUKE F15

ступица перед схема как снять NISSAN JUKE
  1. Поворотный кулак
  2. Брызговик
  3. Болт ступицы
  4. Ступица колеса в сборе (со встроенным подшипником)
  5. Дисковый ротор
  6. Контргайка ступицы колеса
  7. Регулировочный колпачок
  8. Шплинт
  • A. Затяжку необходимо производить в соответствии с процедурой установки.
  • Изображение круга с перекрестием указывает на недопустимость повторного использования детали
  • Изображение гаечного ключа указывает момент затяжки

Как снять ступицу NISSAN JUKE ?

  • 1. Снимите шины с помощью электроинструмента.
  • 2. Снимите колесный датчик и жгут проводов датчика.
  • 3. Снимите стопорную пластину со стойки в сборе.
  • 4. Снимите суппорт в сборе. Подвесьте суппорт в сборе, чтобы он не мешал работе.

    ОСТОРОЖНО:

    Никогда не нажимайте на педаль тормоза при снятом тормозном суппорте.

  • 5. Снимите дисковый привод.

    ОСТОРОЖНО:

    Перед снятием дискового ротора нанесите соответствующие метки (А) на ступицу колеса в сборе и дисковый ротор.

    Никогда не роняйте дисковый ротор.

  • 6. Снимите шплинт и регулировочный колпачок, а затем ослабьте стопорную гайку ступицы колеса с помощью гаечного ключа (A) [ SST: KV40104000 ] для стопорной гайки ступицы.
  • 7. Закрепите контргайку ступицы колеса куском дерева. Ударьте молотком по дереву, чтобы отсоединить ступицу колеса в сборе от приводного вала.

    ОСТОРОЖНО:

    Никогда не устанавливайте шарнир приводного вала под большим углом. Также следите за тем, чтобы не перетянуть скользящий шарнир слишком сильно.

    Никогда не допускайте, чтобы приводной вал свисал вниз без опоры для узла соединения, вала и других деталей.

    ПРИМЕЧАНИЕ:

    Используйте подходящий съемник, если ступица колеса в сборе и приводной вал не могут быть разъединены даже после выполнения описанной выше процедуры.

  • 8. Снимите контргайку ступицы колеса.
  • 9. Снимите наружное гнездо рулевого механизма с поворотного кулака.
  • 10. Снимите стойку в сборе с поворотного кулака.
  • 11. Закрепите приводной вал подходящей проволокой.
  • 12. Снимите поворотный кулак с поперечной тяги.
  • 13. Снимите ступицу колеса в сборе и брызговик с поворотного кулака.
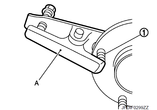
  • 14. Выверните болты ступицы (1) из ступицы колеса в сборе, используя приспособление для снятия шаровых шарниров (A) (инструмент для коммерческого обслуживания).

    ОСТОРОЖНО:

    Снимайте болт ступицы только при необходимости.

    Никогда не забивайте болт ступицы молотком, чтобы избежать удара о колесо ступица в сборе.

    Выверните болт ступицы в направлении, перпендикулярном ступице колеса в сборе.

  • 15. После снятия проведите осмотр.

Как установить ступицу NISSAN JUKE ?

Обратите внимание на следующее и устанавливайте в порядке, обратном снятию.

Установите шайбу (A), как показано на рисунке, для установки болтов ступицы (1), используя усилие затяжки гайки (B).

ОСТОРОЖНО:

Убедитесь, что между ступицей колеса в сборе и болтом ступицы нет зазора.

Никогда не используйте болт ступицы повторно.

Никогда не используйте повторно поворотный кулак и гайку крепления поперечной тяги.

Очистите соответствующие поверхности стопорной гайки ступицы колеса и ступицы колеса в сборе.

ОСТОРОЖНО:

Никогда не наносите смазочное масло на эти соответствующие поверхности.

Очистите соответствующую поверхность приводного вала, ступицы колеса в сборе. Затем нанесите пасту [сервисные детали (440037S000)] на поверхность (А) узла соединения приводного вала.

ОСТОРОЖНО:

Нанесите пасту так, чтобы покрыть всю плоскую поверхность узла соединения приводного вала.

Количество пасты: 1,0 – 3,0 г

Для затяжки контргайки ступицы колеса используйте следующий диапазон крутящих моментов.

Момент затяжки ступицы: 180185 N·m

ОСТОРОЖНО:

Поскольку приводной вал собирается запрессовкой, используйте диапазон моментов затяжки контргайки ступицы колеса.

Обязательно используйте динамометрический ключ для затяжки контргайки ступицы колеса. Никогда не пользуйтесь электроинструментом.

Никогда не используйте контргайку ступицы колеса повторно.

ПРИМЕЧАНИЕ:

Момент затяжки контргайки ступицы колеса не должен превышать момент затяжки, чтобы избежать шума на оси, и не должен быть меньше момента затяжки, чтобы избежать ослабления.

При повторном использовании дискового ротора совместите соответствующие отметки, сделанные при снятии.

При установке шплинта (1) и регулировочного колпачка (2) надежно отогните базовую часть, чтобы предотвратить скрежет.

ОСТОРОЖНО:

Нанесите пасту так, чтобы покрыть всю плоскую поверхность узла соединения приводного вала.

Никогда не используйте шплинт повторно.

Выполните окончательную затяжку каждой из деталей без нагрузки, которые были сняты при снятии ступицы колеса в сборе и поворотного кулака.

После установки выполните проверку.