Замена радиатора INFINITI EX

Замена радиатора INFINITI EX

Стоимость работ:
3 450 

Запчасти и расходники

Наименование Производитель Номер Стоимость
Крышка горловины радиатора Infiniti J50 Y62 21430C991A NISSAN (GLOBAL) 21430C991A 1 400 руб.
Радиатор охлаждения AT Infiniti FX35 '08 / Infiniti EX35 '09- KOYORAD (Япония) PL022210 0 руб.

Как поменять радиатор - замена радиатора на автомобиле INFINITI EX?

Как заменить радиатор ИНФИНИТИ EX

Обнаружили подтеки охлаждающей жидкости под передней частью автомобиля? Температура двигателя стала нестабильной и превышает норму даже при обычной езде? На радиаторе видны следы повреждений, коррозии или засорения сот? Эти признаки указывают на необходимость замены радиатора системы охлаждения. Своевременное восстановление охлаждающей способности критически важно для двигателя вашего INFINITI EX.

Основные признаки необходимости замены радиатора:

  • Постоянное снижение уровня охлаждающей жидкости в расширительном бачке при отсутствии видимых внешних утечек.
  • Видимые подтеки антифриза на ребрах радиатора или в местах соединения пластиковых бачков с алюминиевым сердечником.
  • Перегрев двигателя при движении в пробках, на подъемах или при работе кондиционера.
  • Повреждения сот радиатора от камней, насекомых или коррозии, снижающие эффективность охлаждения.
  • Маслянистые следы в охлаждающей жидкости (признак повреждения теплообменника АКПП внутри радиатора).
  • Трещины или разрушение пластиковых бачков радиатора.

Процедура замены включает:

  1. Диагностика: Компьютерная диагностика системы управления двигателем и визуальная проверка состояния всей системы охлаждения, включая вентиляторы, термостат и патрубки.
  2. Подготовка: Полный слив охлаждающей жидкости в специальную емкость. Демонтаж защитных кожухов и элементов переднего бампера для обеспечения доступа.
  3. Демонтаж: Аккуратное отсоединение верхнего и нижнего патрубков системы охлаждения. Отсоединение трубок масляного радиатора АКПП (при наличии) с заглушкой отверстий для предотвращения вытекания трансмиссионной жидкости. Снятие электрических разъемов вентиляторов и датчиков. Демонтаж радиатора в сборе с вентиляторами (или отдельно) с крепежных элементов.
  4. Переустановка компонентов: При необходимости перенос вентиляторов, датчиков и кронштейнов со старого радиатора на новый. Тщательная очистка посадочных мест.
  5. Установка нового радиатора: Монтаж нового оригинального радиатора или качественного аналога (например, TYC, Denso, UAC) . Подключение всех патрубков с обязательной заменой уплотнительных колец и хомутов. Подключение трубок масляного радиатора АКПП.
  6. Заправка и проверка: Заправка системы свежим антифризом, соответствующим спецификациям Nissan. Удаление воздушных пробок из системы охлаждения с помощью специального оборудования. Контроль герметичности всех соединений под рабочим давлением . Проверка работы вентиляторов охлаждения и термостата на всех режимах. Тестовый заезд для контроля температурного режима двигателя.

Замена радиатора охлаждения двигателя на автомобиле INFINITI EX первого поколения – восстановление эффективного теплового режима и защита двигателя от перегрева

Не рискуйте работоспособностью двигателя вашего INFINITI EX. Неисправный или засоренный радиатор неизбежно приведет к перегреву, деформации головки блока цилиндров и дорогостоящему капитальному ремонту. Своевременная замена радиатора – это инвестиция в надежность и долговечность силового агрегата.

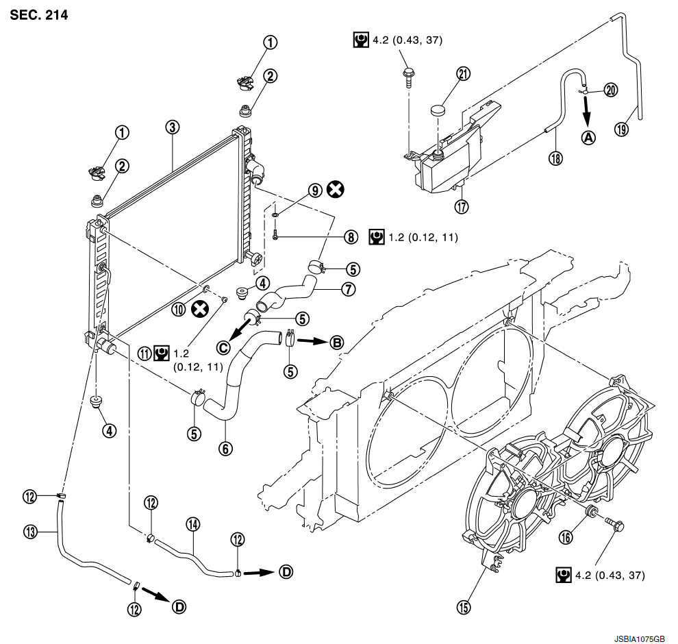
радиатор двс двигателя схема infiniti EX
  1. Верхний монтажный кронштейн
  2. Монтажная резина (верхняя)
  3. Радиатор
  4. Монтажная резина (нижняя)
  5. Зажим
  6. Шланг радиатора (нижний)
  7. Шланг радиатора (верхний)
  8. Сливная пробка
  9. Уплотнительное кольцо
  10. Уплотнительное кольцо
  11. Заглушка для сброса воздуха
  12. Зажим
  13. Шланг охладителя жидкости кондиционера
  14. Шланг охладителя жидкости кондиционера
  15. Вентилятор охлаждения в сборе
  16. Втулка
  17. Резервуар
  18. Шланг бака-накопителя
  19. Шланг бака-накопителя
  20. Зажим
  21. Крышка бака-накопителя
  • A. К выходу воды (спереди)
  • B. К входу воды
  • C. К выходу воды (спереди)
  • D. К патрубку охладителя жидкости кондиционера

Как снять радиатор INFINITI EX ?

ОСТОРОЖНО:

Никогда не снимайте крышку радиатора при горячем двигателе. Попадание охлаждающей жидкости под высоким давлением из водовыпускного отверстия (спереди) может привести к серьезным ожогам. Оберните крышку плотной тканью. Медленно поверните ее на четверть оборота, чтобы сбросить повышенное давление. Осторожно снимите крышку радиатора, повернув ее до упора.

ПРИМЕЧАНИЕ:

При снятии таких компонентов, как шланги, трубки/магистрали и т.д., закройте отверстия для заглушек, чтобы предотвратить проливание жидкости.

  • 1. Снимите следующие детали:
    • Защиту картера двигателя
    • Крышка двигателя
    • Корпус воздушного фильтра - воздухоочистителя
    • Резервуар-накопитель антифриза
    • Крышка замка капота, фиксатор замка капота в сборе и звуковой сигнал
  • 2. Снимите конденсатор.
  • 3. Слейте охлаждающую жидкость из радиатора двигателя.

    ОСТОРОЖНО:

    Выполняйте это действие, когда двигатель холодный.

    Ни в коем случае не проливайте охлаждающую жидкость двигателя на приводной ремень.

  • 4. Отсоедините шланги кондиционера от радиатора.
  • 5. Снимите шланги радиатора (верхний и нижний) и шланг бачка.

ОСТОРОЖНО:

Никогда не допускайте попадания охлаждающей жидкости двигателя на приводной ремень.

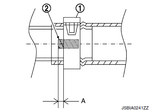
Никогда не ослабляйте крепежный винт патрубка впуска воды в радиатор (A). Если он ослаблен, замените радиатор (1).

  • 2: Патрубок впуска воды в радиатор
  • 6. Снимите вентилятор охлаждения в сборе.

    ОСТОРОЖНО:

    Никогда не повреждайте и не царапайте сердечник радиатора при снятии.

  • 7. Поверните два верхних монтажных кронштейна радиатора на 90 градусов в направлении, показанном на рисунке, и снимите их.
    • 1 : Верхний монтажный кронштейн радиатора
    • A : Поверните на 90° против часовой стрелки
  • 8. Снимите радиатор следующим образом:

    ОСТОРОЖНО:

    Никогда не повреждайте и не царапайте сердечник радиатора при снятии.

  • a. Поднимите и потяните радиатор (1) вперед, а затем снимите монтажную резинку (нижнюю) (3) с опоры сердечника радиатора (2).
    • Изображение стрелки указывает на перед автомобиля
  • b. Снимите радиатор (1) с передней части опоры сердечника радиатора (2).
    • Изображение стрелки указывает на перед автомобиля

Как установить радиатор охлаждения двигателя INFINITI EX ?

  • Установка производится в порядке, обратном снятию.

ОСТОРОЖНО:

Не используйте уплотнительные кольца повторно.

Замените зажим для шланга подачи воды, если он снят.

Используйте оригинальные крепежные болты для вентилятора охлаждения в сборе и строго соблюдайте момент затяжки. (Предотвращение поломки радиатора)

ПРИМЕЧАНИЕ:

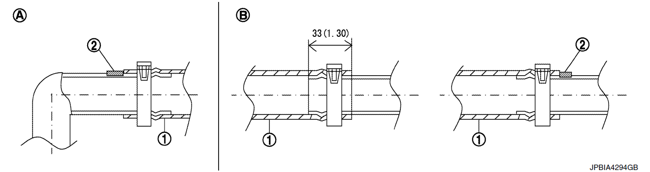
Вставьте шланг радиатора (1) до упора (2) или на 33 мм (1,30 дюйма) (шланг без пробки).

радиатор двигателя как установить infiniti EX

Единица измерения, мм (дюйм.)

  • A. Сторона радиатора
  • B. Сторона двигателя

Положение защелки хомута для шланга показано на рисунке.

Шланг радиатора Конец шланга След от краски Положение хомута для шланга*
Шланг радиатора (верхний) Сторона радиатора Верхний A
Сторона двигателя Верхний B
Шланг радиатора (низкий) Сторона радиатора Нижний C
Сторона двигателя Правая сторона D

*Смотрите иллюстрации для указания конкретного положения каждого язычка хомута для шланга.

радиатор двигателя как установить infiniti EX
  • E. Вид Е
  • f. под углом 45°
  • Верхняя часть транспортного средства
  • Угол (b), создаваемый защелкой хомута для шланга и указанной линией (A), должен находиться в пределах ±30°, как показано на рисунке.
  • Чтобы установить хомуты для шланга (1), убедитесь, что расстояние (А) от конца отметки краски (2) на шланге радиатора до хомута для шланга находится в пределах контрольного значения.

    Размер “А” : (−1) – (+1) мм