Замена сальника привода INFINITI EX

Замена сальника привода INFINITI EX

Стоимость работ:
4 580 

Запчасти и расходники

Наименование Производитель Номер Стоимость
Сальник приводного вала левый Nissan J11E/T32 383423WX0C NISSAN (GLOBAL) 383423WX0C 700 руб.

Как поменять сальник привода на автомобиле INFINITI EX?

Как заменить сальник привода ИНФИНИТИ EX

Автомобиль стал заметно хуже разгоняться, появились вибрации или посторонний гул со стороны трансмиссии? Система полного привода работает с задержками или рывками? Пришло время планового обслуживания раздаточной коробки? Своевременная замена масла в раздатке – ключевая процедура для сохранения работоспособности и ресурса системы полного привода вашего INFINITI EX первого поколения (J50, 2013-2017).

Основные симптомы, указывающие на необходимость замены масла в раздатке:

  • Появление гула, воя или повышенного шума из-под центральной части автомобиля, меняющегося в зависимости от скорости.
  • Вибрации или рывки при работе системы полного привода.
  • Некорректное подключение задней оси, задержки или резкие включения.
  • Превышение регламентного интервала замены (60 000 км или 3 года).
  • Потемнение масла, наличие металлической стружки или посторонних примесей при проверке уровня.
  • Следы подтекания масла в районе раздаточной коробки.

Процедура замены включает:

  1. Диагностика: Подъем автомобиля на подъемнике, визуальный осмотр раздаточной коробки на предмет подтеков и повреждений. Проверка работы системы полного привода.
  2. Подготовка: Короткая поездка для прогрева масла в раздатке до рабочей температуры для лучшего стекания.
  3. Слив: Откручивание сливной пробки раздаточной коробки и полный слив отработанного масла в мерную емкость.
  4. Визуальная диагностика: Оценка состояния слитого масла (цвет, запах, наличие металлической стружки) и состояния магнитной пробки.
  5. Замена уплотнения: Очистка сливной и заливной пробок, обязательная замена уплотнительных шайб (медных или алюминиевых) на новые.
  6. Заливка: Через заливное отверстие с помощью специального шприца или насоса заливается новое масло до момента его вытекания из контрольного отверстия.
  7. Завершение и контроль: Установка и затяжка пробок с предписанным моментом. Очистка узла от потеков. Контрольная поездка для проверки отсутствия шумов и корректной работы системы полного привода.

Техническое примечание:

В зависимости от типа двигателя заправочный объем масла в раздатке составляет 1 литр (для двигателей 2.5 и 3.7) или 1.25 литра (для двигателя 3.5) . Производитель предписывает использование жидкости с допуском Nissan Matic Fluid J (оригинальный номер KE90899932R). Рекомендованный интервал замены – каждые 60 000 км пробега или 36 месяцев эксплуатации (при тяжелых условиях – каждые 32 000 км или 24 месяца) . При буксировке прицепа, частой езде по бездорожью или использовании багажника на крыше интервал замены должен быть сокращен.

Замена масла в раздаточной коробке на автомобиле INFINITI EX первого поколения – профессиональное обслуживание системы полного привода

Своевременная замена масла в раздаточной коробке – это не просто формальность, а необходимое условие для сохранения плавности работы, долговечности агрегата и корректного срабатывания сложной электронно-управляемой системы полного привода ATTESA E-TS.

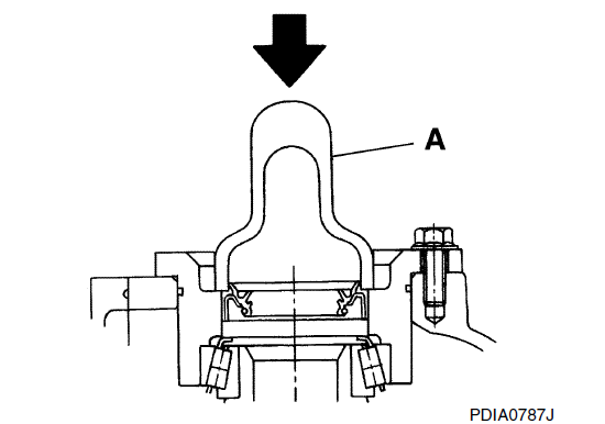
Сальник привода правая сторона

сальник привода правая сторона infiniti EX
  1. Передняя бортовая передача в сборе
  2. Боковое сальниковое уплотнение (правая сторона)
  • A: Кромка сальника привода
  • Изображение стрелки указывает на перед автомобиля
  • Изображение маслёнки указывает на применение трансмиссионого масла
  • Изображение шприца указывает где нанести универсальную смазку

Как снять сальник привода INFINITI EX ?

  • 1. Снимите передний приводной вал.
  • 2. Снимите боковой сальник с помощью съемника (A) [SST: KV381054S0(J-34286)].

    ОСТОРОЖНО:

    Никогда не повреждайте опору редуктора.

Как установить-поставить сальник привода INFINITI EX ?

  • 1. Используя выступ (A) [SST: ST33400001 (J-26082)], запрессуйте боковое сальниковое уплотнение таким образом, чтобы его поверхность соприкасалась с торцевой поверхностью бокового фиксатора.

    ОСТОРОЖНО:

    Нанесите универсальную смазку на уплотнительные кромки бокового сальника.

    Никогда не используйте сальник повторно.

    При установке никогда не наклоняйте сальник.

  • 2. Установите передний приводной вал.
  • 3. Если при демонтаже произошла утечка масла, проверьте уровень масла после установки.

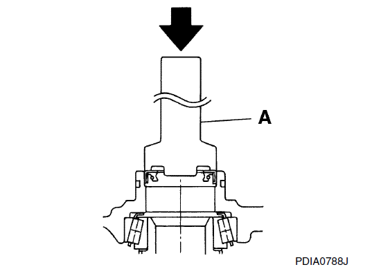
Сальник привода левая сторона

сальник привода левая сторона infiniti EX
  1. Передняя бортовая передача в сборе
  2. Боковое сальниковое уплотнение (сальник - левая сторона)
  • A: Кромка сальника привода
  • Изображение стрелки указывает на перед автомобиля
  • Изображение маслёнки указывает на применение трансмиссионого масла
  • Изображение шприца указывает где нанести универсальную смазку

Как снять сальник привода INFINITI EX ?

  • 1. Снимите переднюю бортовую передачу в сборе с автомобиля с помощью электроинструмента.

    ПРИМЕЧАНИЕ:

    Левый боковой сальник крепится к двигателю в сборе. Замените его после снятия передней бортовой передачи с автомобиля.

  • 2. Снимите боковое сальниковое уплотнение с помощью отвертки с плоским лезвием.

    ОСТОРОЖНО:

    Никогда не повреждайте опору редуктора.

Как установить сальник привода INFINITI EX ?

  • 1. Нанесите универсальную смазку на уплотнительные кромки бокового сальника.
  • 2. Используя выступ (A) [SST: KV38102100 (J-25803-01)], запрессуйте боковое сальниковое уплотнение таким образом, чтобы его поверхность соприкасалась с торцевой поверхностью водила редуктора.

    ОСТОРОЖНО:

    Никогда не используйте сальник повторно.

    При установке никогда не наклоняйте сальник.

  • 3. Установите переднюю конечную передачу в сборе на автомобиль.
  • 4. Установите передний приводной вал.
  • 5. Если при демонтаже произошла утечка масла, проверьте уровень масла после установки.