Замена заднего подрамника INFINITI G

Замена заднего подрамника INFINITI G

Стоимость работ:
6 330 

Как поменять задний подрамник на автомобиле INFINITI G?

Замена заднего подрамника ИНФИНИТИ G

Попадали в серьезное дорожное происшествие? Обнаружена деформация задней части кузова или неисправимое нарушение углов установки задних колес? Автомобиль потерял курсовую устойчивость, "рыскает" на трассе, а шины изнашиваются неравномерно, несмотря на регулярную регулировку развала-схождения? Причиной может быть повреждение заднего подрамника – силового элемента, к которому крепятся все узлы задней подвески. Восстановление геометрии кузова – сложная задача, требующая профессионального оборудования и высокой квалификации.

Основные симптомы, указывающие на необходимость замены заднего подрамника:

  • Серьезная деформация, трещины или разрывы металла в результате удара.
  • Смещение точек крепления рычагов задней подвески, выявленное при диагностике геометрии.
  • Невозможность отрегулировать углы развала и схождения задних колес в допустимый диапазон.
  • Хроническое нарушение схождения, не устраняемое регулировкой рычагов.
  • Видимый перекос задней части кузова, постоянный увод автомобиля в сторону.
  • Неравномерный, ускоренный износ протектора задних шин.

Процедура замены включает:

  1. Точная предварительная диагностика: Обязательная проверка геометрии кузова на 3D-стенде для документирования степени и характера повреждений.
  2. Подготовка и демонтаж: Установка автомобиля на подъемник. Демонтаж всех навесных элементов задней части: задних колес, тормозных суппортов (подвешиваются), амортизаторов, рычагов подвески, стабилизатора, элементов выхлопной системы и защиты.
  3. Демонтаж поврежденного подрамника: Откручивание всех силовых болтов, крепящих подрамник к кузову. Эти болты затянуты с очень большим моментом и часто требуют применения специального инструмента. Аккуратный съем деформированного узла.
  4. Подготовка кузова и нового узла: Очистка и проверка посадочных площадок на кузове. Подготовка нового оригинального подрамника и нового крепежа.
  5. Установка и выравнивание: Монтаж нового подрамника, его предварительная фиксация. Точное позиционирование с помощью измерительного оборудования по контрольным точкам кузова.
  6. Окончательная затяжка: Фиксация подрамника путем окончательной затяжки всех силовых болтов строго предписанным динамометрическим моментом и в указанной производителем последовательности.
  7. Обратная сборка: Монтаж всех снятых агрегатов и компонентов задней подвески.
  8. Обязательная регулировка: Полная и точная регулировка углов установки задних колес (развал, схождение) на компьютерном стенде.
  9. Контрольный тест-драйв: Проверка поведения автомобиля на дороге, работы подвески и отсутствия посторонних шумов.

Техническое примечание:

Задний подрамник (задняя поперечина, подвесная балка) на INFINITI G является основным несущим элементом задней части кузова. К нему крепятся рычаги задней многорычажной подвески, стойки стабилизатора, а также элементы крепления дифференциала и заднего редуктора. Деформация подрамника даже на несколько миллиметров приводит к нарушению геометрии всей подвески, что невозможно компенсировать регулировками. Это вызывает ускоренный износ шин, ухудшение управляемости и потерю курсовой устойчивости.

Замена заднего подрамника на автомобиле INFINITI G – восстановление геометрической целостности кузова и точности управляемости

Замена заднего подрамника – это капитальный ремонт, определяющий дальнейшую судьбу автомобиля. Его корректное выполнение невозможно без специального оборудования и глубокого знания конструкции.

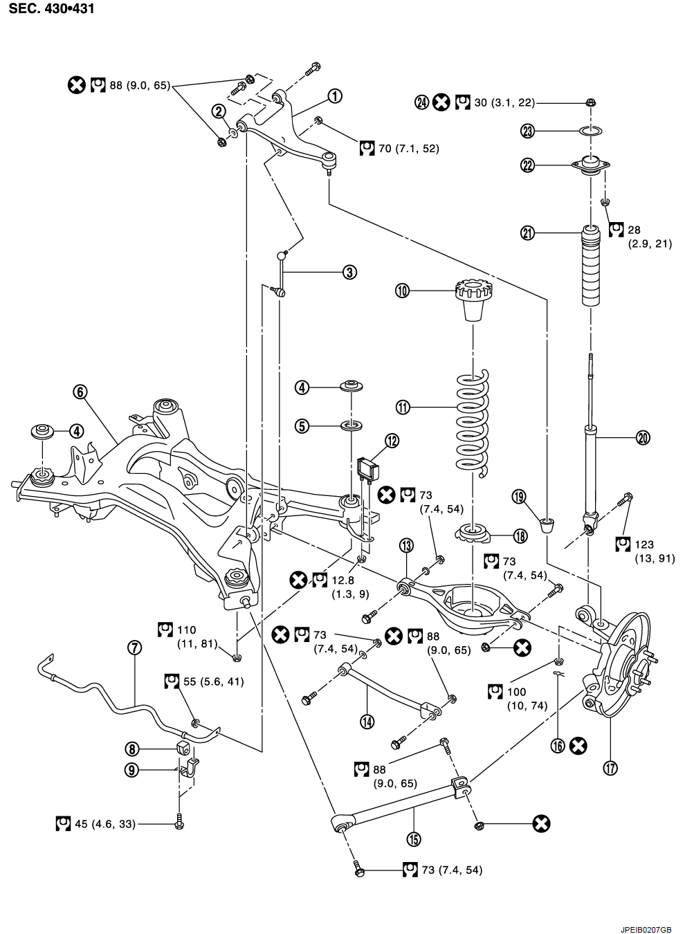
задний подрамник схема установки инфинити infiniti G
  1. Рычаг подвески
  2. Резиновый ограничитель
  3. Шатун стабилизатора
  4. Верхний ограничитель (модель полного привода)
  5. Фиксатор крепления
  6. Элемент подвески
  7. Стабилизатор поперечной устойчивости
  8. Втулка стабилизатора
  9. Зажим стабилизатора
  10. Верхнее сиденье
  11. Спиральная пружина
  12. Амортизатор в сборе (модель полного привода)
  13. Задняя нижняя тяга
  14. Передняя нижняя тяга
  15. Радиусная тяга
  16. Шплинт
  17. Ось в сборе
  18. Резиновое сиденье
  19. Шаровое сиденье
  20. Амортизатор
  21. Накладка на бампер
  22. Монтажный кронштейн амортизатора
  23. Монтажное уплотнение
  24. Стопорная гайка штока поршня

Как поменять задний подрамник INFINITI G ?

  • 1. Снимите шины с автомобиля с помощью электроинструмента.
  • 2. Снимите суппорт в сборе. Повесьте суппорт в сборе в таком месте, где он не будет мешать работе.

    ВНИМАНИЕ!

    Избегайте нажатия на педаль тормоза при снятом тормозном суппорте.

  • 3. Снимите дисковый привод
  • 4. Снимите колесный датчик и жгут проводов датчика с оси в сборе и рычага подвески.
  • 5. Снимите центральный глушитель и основной глушитель.
  • 6. Снимите стабилизатор поперечной устойчивости.
  • 7. Снимите приводной вал.
  • 8. Снимите карданный вал.
  • 9. Снимите жгут проводов с задней бортовой передачи и элемента подвески.
  • 10. Снимите привод.
  • 11. Выверните болт крепления троса стояночного тормоза и отсоедините трос стояночного тормоза от автомобиля и элемента подвески.
  • 12. Выверните крепежные болты с нижней стороны амортизатора.
  • 13. Снимите заднюю нижнюю тягу и спиральную пружину.
  • 14. Установите подходящий домкрат под элемент подвески.
  • 15. Открутите гайки крепления элемента подвески.
  • 16. Медленно опустите домкрат, затем снимите элемент подвески, рычаг подвески, радиусную тягу, переднюю нижнюю тягу и ось автомобиля как единое целое.
  • 17. Снимите верхний стопор и амортизатор в сборе с элемента подвески. (Модели с полным приводом)
  • 18. Выверните крепежные болты и гайки, затем снимите стопор крепления, рычаг подвески, переднюю нижнюю тягу и радиусную тягу с элемента подвески.

Как установить задний подрамник INFINITI G ?

Обратите внимание на следующее и выполняйте установку в порядке, обратном снятию.

  • В ненагруженном состоянии выполните окончательную затяжку каждой детали, которая была снята при снятии задней подвески в сборе.
  • Проверьте правильность подключения жгута проводов колесного датчика.

ВНИМАНИЕ!

Никогда не используйте шплинт повторно.

ОСМОТР ПОСЛЕ СНЯТИЯ

Проверьте переднюю подвеску на наличие деформаций, трещин или любых других повреждений. При необходимости замените.