Глушитель замена INFINITI JX

Глушитель замена INFINITI JX

Стоимость работ:
3 850 

Замена выхлопной системы на автомобиле INFINITI JX

Глушитель замена INFINITI JX

Появился повышенный шум при работе двигателя? Слышите металлический лязг под автомобилем? Заметили снижение мощности двигателя или увеличение расхода топлива?

Основные симптомы неисправности выхлопной системы:

  • Повышенный шум работы двигателя, особенно в области подкапотного пространства и под днищем
  • Металлический лязг или вибрация при движении по неровностям
  • Снижение мощности двигателя и ухудшение динамики разгона
  • Появление запаха выхлопных газов в салоне автомобиля
  • Видимые повреждения или коррозия элементов системы выпуска

Процедура замены:

  • Диагностику состояния всех компонентов выхлопной системы
  • Демонтаж поврежденных элементов с применением профессионального инструмента
  • Обработку соединений специализированными проникающими составами
  • Установку новых компонентов с использованием оригинальных креплений и уплотнений
  • Проверку герметичности всех соединений после монтажа
  • Контроль уровня шума и соответствия экологическим стандартам
  • Тестовый заезд для проверки работы системы в различных режимах

Техническое примечание:

Не допускайте превышения допустимого уровня шума и сохраните штатные характеристики вашего автомобиля! Своевременная замена элементов выхлопной системы обеспечит оптимальную работу двигателя и соответствие экологическим стандартам.

Глушитель замена

выхлопная система INFINITI JX
  1. Уплотнительный подшипник
  2. Передняя выхлопная труба
  3. Кольцевая прокладка
  4. Кронштейн передней выхлопной трубы
  5. Резиновая подвеска центральной выхлопной трубы
  6. Центральная выхлопная труба
  7. Задняя выхлопная труба
  8. Резиновая подвеска задней выхлопной трубы
  9. Прокладка
  • Изображения гаечного ключа указывает момент затяжки
  • Изображения стрелки указывает перед авто
  • Изображения перечеркнутого круга указывает на невозможность повторного использования детали

Как поменять глушитель INFINITI JX ?

Снимите компоненты выхлопной системы с помощью пневмо- или электроинструмента.

ОСТОРОЖНО:

Выполняйте процедуры при полностью остывшей выхлопной системе, чтобы избежать травм из-за горячей выхлопной системы.

Будьте осторожны, чтобы не порезать руку о край изолятора.

ВНИМАНИЕ:

Используйте оригинальные детали выхлопной системы INFINITI или аналогичные им, которые специально разработаны с учетом их термостойкости, коррозионной стойкости и формы.

Как поменять глушитель INFINITI JX ?

Установка производится в порядке, обратном снятию.

Соедините выпускной коллектор с передней выхлопной трубой

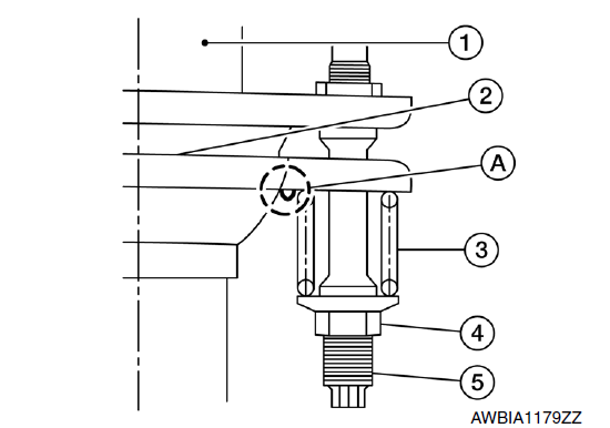
  • Установите уплотнительный подшипник (2) в переднюю выхлопную трубу (1).
  • При установке пружины (3) и гайки (4) проверьте следующее:
    • Убедитесь, что пружина (3) правильно установлена на поверхности фланца, совместив ее с установочными углублениями (A).
    • Убедитесь, что шпилька (5) не касается внутренней части отверстия для болта фланца.

    ОСТОРОЖНО:

    При монтаже соблюдайте осторожность, чтобы не повредить опорную поверхность уплотнения.

    Уплотните пружину, затянув гайку.

    ВНИМАНИЕ:

    Убедитесь, что пружины правильно установлены на фланце и не находятся в углублениях фиксатора (A).

    Установите уплотнительный подшипник таким образом, чтобы гайка находилась в центре отверстия фланца без контакта с фланцем.

ВНИМАНИЕ:

При повторной сборке всегда заменяйте прокладки выхлопных газов на новые.

Если какой-либо изолятор сильно деформирован, отремонтируйте или замените его. Если на изоляторе образовались отложения, такие как грязь, очистите и осмотрите их.

Временно затяните гайки со стороны выпускного коллектора и болты со стороны автомобиля. Проверьте, не соприкасается ли каждая деталь с другими компонентами, а затем затяните гайки и болты в соответствии со спецификациями.