Как разобрать задний суппорт INFINITI Q50 V37

Как разобрать задний суппорт INFINITI Q50 V37

Стоимость работ:
1 730 

Запчасти и расходники

Наименование Производитель Номер Стоимость
Суппорт тормозной задний правый Infiniti L50 Y51 V37 G25 NISSAN (GLOBAL) 440011AA0A 45 370 руб.
Суппорт тормозной задний левый Infiniti L50 Y51 V37 G25 NISSAN (GLOBAL) 440111AA0A 45 370 руб.
Смазка для направляющих пальцев торм. суппорта LIQUI MOLY (21119) 39022 / 7656 LIQUI MOLY (Германия) 39022 260 руб.
Смазка для направляющих суппорта MILES МС 1630 30г Miles (Бельгия) EB00030 690 руб.
Смазка тормозных суппортов TOYOTA 100гр TOYOTA (Япония) 0888701206 4 190 руб.

Переборка заднего суппорта на автомобиле INFINITI Q50

Переборка заднего тормозного суппорта ИНФИНИТИ Q50

Заметили подтекание тормозной жидкости в области заднего колеса? Автомобиль при торможении уводит в сторону, а задние колодки изнашиваются неравномерно? Поршень суппорта заклинил или перемещается с большим усилием? Переборка суппорта – это комплексное восстановление, которое решает проблему на корню, а не маскирует ее. Это правильный выбор для сохранения заводского качества тормозной системы вашего INFINITI.

Основные симптомы, указывающие на необходимость переборки:

  • Подтекание тормозной жидкости из уплотнений поршня или вокруг пыльника направляющей.
  • Заклинивание поршня суппорта, приводящее к постоянному подтормаживанию колеса, перегреву диска и ускоренному износу колодок с одной стороны.
  • Неравномерный износ внутренней и внешней задней тормозной колодки.
  • Коррозия и затрудненный ход направляющих пальцев, вызывающий неполное растормаживание или перекос колодок.
  • Неисправность механизма электронного стояночного тормоза (ошибки, не срабатывание).

Процедура замены включает:

  • Диагностику и перевод системы электронного стояночного тормоза (EPB) в сервисный режим.
  • Демонтаж суппорта, его тщательную мойку и внешний осмотр.
  • Аккуратную разборку узла: извлечение поршня, разборку механизма EPB (если это предусмотрено конструкцией).
  • Дефектовку всех компонентов: корпуса, поршня, направляющих пальцев, скоб.
  • Удаление всей коррозии и старой смазки, пескоструйную или ультразвуковую очистку деталей при необходимости.
  • Замену ВСЕХ резинотехнических изделий: ремкомплекта (манжеты, уплотнительные кольца поршня), пыльников направляющих.
  • Смазку поршня, направляющих и механических частей EPB специальными высокотемпературными и химически стойкими смазками.
  • Сборку суппорта с соблюдением всех технических нюансов.
  • Установку узла на автомобиль, затяжку с предписанным моментом.
  • Прокачку тормозной системы для удаления воздуха.
  • Калибровку системы EPB с помощью дилерского диагностического сканера.
  • Контрольную проверку герметичности и работоспособности на стенде и в ходе тестовой поездки.

Задние суппорты INFINITI Q50 оснащены интегрированным механизмом электронного стояночного тормоза (EPB). Это требует особого подхода при разборке, сборке и последующей калибровке. Процедура не ограничивается стандартной заменой уплотнений; необходимо также обслуживать механическую часть привода ручника, что требует специфических знаний и инструментов.

Переборка задних суппортов INFINITI Q50 – полное восстановление работоспособности тормозной системы

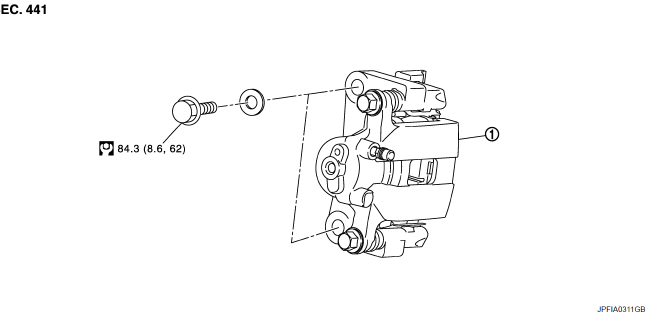
Как разобрать задний суппорт 1 поршневого типа INIFINITI Q50 ?

как разобрать задний суппорт infiniti Q50
  1. Тормозной суппорт 1 поршень
как разобрать задний суппорт infiniti Q50
  1. Палец
  2. Гильза
  3. Колпачек
  4. Выпускной клапан
  5. Корпус цилиндра
  6. Уплотнительное кольцо поршня
  7. Поршень тормозного суппорта
  8. Накладка поршня
  9. Стопорное кольцо
  10. Прокладка пальца
  11. Скоба суппорта
  • Изображение со шприцеванием 1: Нанесите резиновую смазку.
  • Изображение со шприцеванием 2: Нанесите смазку MOLYKOTE® AS880N или смазку на силиконовой основе.
  • Изображение масленки: Нанесите тормозную жидкость.
  • Изображение гаечного ключа: используйте момент затяжки N·m (кг-м, дюйм-фунт)
  • Изображение круга с перекрестием: всегда заменяйте после каждой разборки.

Как снять задний суппорт INFINITI Q50 ?

ВНИМАНИЕ:

Поскольку пыль, покрывающая задний тормоз, оказывает вредное воздействие на организм человека, ее необходимо удалять с помощью пылесборника. Никогда не раздувайте пыль с помощью пневматического пистолета.

ОСТОРОЖНО:

Никогда не проливайте тормозную жидкость на окрашенные поверхности. Тормозная жидкость может серьезно повредить лакокрасочное покрытие.

При попадании на окрашенную поверхность немедленно протрите ее и промойте водой. Однако избегайте мытья деталей тормозов водой.

  • Никогда не нажимайте на педаль тормоза при снятии тормозных колодок или корпуса цилиндра, так как поршень может выскочить.
  • Если тормозная жидкость или смазка прилипли к тормозному суппорту в сборе и дисковому ротору, быстро сотрите их.
  • 1. Снимите колеса.
  • 2. Закрепите тормозной диск с помощью колесных гаек.
  • 3. Слейте тормозную жидкость.
  • 4. Снимите соединительный болт и медную шайбу и отсоедините тормозной шланг от суппорта в сборе.
  • 5. Выверните болты крепления и снимите тормозной суппорт в сборе.

    ОСТОРОЖНО:

    Никогда не роняйте тормозную колодку и суппорт в сборе.

  • 6. Снимите тормозной диск.

Как разобрать задний суппорт INFINITI Q50 ?

ПРИМЕЧАНИЕ:

Никогда не снимайте регулировочный элемент, тормозную колодку и фиксаторы колодок при разборке и сборке корпуса цилиндра.

  • 1. Выверните болт со скользящим штифтом и снимите корпус цилиндра с фиксатора крутящего момента.

ОСТОРОЖНО:

Закрепите тормозную колодку подходящим скотчем, чтобы она не упала.

  • 2. Снимите накладки со скользящего штифта с динамометрического элемента.
  • 3. Снимите втулку с болта со скользящим штифтом.
  • 4. Снимите стопорное кольцо 1
  • 5. Установите деревянную колодку, как показано на рисунке, и выпустите воздух из отверстия для крепления соединительного болта, чтобы снять поршtym и накладку-пыльник поршня.

    ОСТОРОЖНО:

    Никогда не допускайте попадания пальцев в поршни.

  • 6. Снимите уплотнение поршня с корпуса цилиндра с помощью подходящего инструмента.

    ОСТОРОЖНО:

    Соблюдайте осторожность, чтобы не повредить внутреннюю стенку пыльника.

  • 7. Снимите выпускной клапан и крышку.
  • 8. После разборки проведите осмотр.

Как собрать задний суппорт INFINITI Q50 ?

  • 1. Установите выпускной клапан и колпачок.
  • 2. Нанесите новую тормозную жидкость на поршневое уплотнительное кольцо 1 и установите их на корпус цилиндра.

    ОСТОРОЖНО:

    • Никогда не используйте уплотнительное кольцо поршня повторно.
  • 3. Нанесите резиновую смазку на уплотнительное кольцо поршня 1. Накройте торец поршня накладкой поршня 2, а затем надежно установите выступ со стороны цилиндра на накладке поршня в паз на корпусе цилиндра.

    ОСТОРОЖНО:

    • При замене тормозной колодки всегда устанавливайте на место прокладки и их крышки.
  • 4. Залейте новую тормозную жидкость в поршень. Вручную вдавите поршень в корпус цилиндра и вставьте выступ со стороны крышки поршня в канавку поршня.

    ОСТОРОЖНО:

    • Равномерно нажимайте на поршни и меняйте силу нажатия, чтобы предотвратить трение внутренней стенки цилиндра.
  • 5. Установите стопорное кольцо.

    ОСТОРОЖНО:

    • Убедитесь, что башмак надежно закреплен в пазу суппорта.
    • Никогда не используйте стопорное кольцо повторно.
  • 6. Нанесите резиновую смазку на соответствующие поверхности А между скользящим штифтовым болтом 1 и втулкой 2 и установите втулку на скользящий штифтовой болт.
  • 7. Нанесите резиновую смазку на соответствующие поверхности между пальцами - штифтов 1 и втулками штифтов 2 и установите их на скобу тормозного суппорта.
  • 8. Нанесите смазку MOLYKOTE® AS880N или смазку на силиконовой основе на защелки корпуса цилиндра.
  • 9. Установите корпус цилиндра и затяните болты со скользящими штифтами с указанным моментом затяжки.

Как разобрать задний суппорт 2 поршневого типа

как разобрать задний суппорт 2 поршня поршневого типа infiniti Q50
  1. Тормозной суппорт 2 поршня
как разобрать задний суппорт 2 поршня поршневого типа infiniti Q50
  1. Поршень
  2. Уплотнительное кольцо поршня
  3. Сальник поршня
  4. Стопорное кольцо
  5. Колпачок клапана
  6. Выпускной клапан
  7. Втулка клапана
  8. Тормозной суппорт
  • Изображение со шприцеванием 1: Нанесите смазку MOLYKOTE® AS880N или смазку на силиконовой основе.
  • Изображение маслёнки: Нанесите тормозную жидкость.
  • Изображение гаечного ключа: N·m (kg-m, in-lb)
  • Изображение круга с перекрестием: Не используйте деталь повторно после снятия.

Как снять задний суппорт 2 поршня INFINITI Q50 ?

ВНИМАНИЕ:

Поскольку пыль, покрывающая задний тормоз, оказывает вредное воздействие на организм человека, ее необходимо удалять с помощью пылесборника. Никогда не разбрызгивайте пыль с помощью пневматического пистолета.

ОСТОРОЖНО:

  • Никогда не проливайте тормозную жидкость на окрашенные поверхности. Тормозная жидкость может серьезно повредить лакокрасочное покрытие. При попадании на окрашенную поверхность немедленно протрите ее и промойте водой.
  • Никогда не нажимайте на педаль тормоза при снятии тормозных колодок, так как поршень может выскочить.
  • Если тормозная жидкость или смазка прилипли к тормозному суппорту в сборе и дисковому ротору, быстро вытрите их.
  • Накройте торцевой гаечный ключ тканью, чтобы не повредить тормозной суппорт в сборе.
  • 1. Снимите шины с помощью электроинструмента.
  • 2. Закрепите дисковый привод с помощью колесных гаек.
  • 3. Слейте тормозную жидкость.
  • 4. Отверните гайку с помощью гаечного ключа и отделите тормозную трубку от суппорта.
  • 5. Снимите кронштейн тормозного шланга.
  • 6. Выверните болты крепления тормозного суппорта в сборе и снимите тормозной суппорт в сборе.

    ОСТОРОЖНО:

    Никогда не роняйте тормозную колодку и суппорт в сборе.

  • 7. Снимите дисковый привод.

Как разобрать задний суппорт 2 поршня INFINITI Q50 ?

ОСТОРОЖНО:

Никогда не повреждайте суппорт.

Никогда не затягивайте и не ослабляйте внутренние и внешние крепежные болты суппорта.

  • 1. Снимите тормозные колодки.

    ОСТОРОЖНО:

    Никогда не роняйте тормозные колодки, прокладки, крышки тормозных колодок, штифты и зажимы колодок.

  • 2. Снимите суппорт.
  • 3. Снимите стопорное кольцо.
  • 4. Установите деревянную колодку, как показано на рисунке, и выпустите воздух из отверстия для крепления тормозной трубки, чтобы снять поршни и накладки поршней.

    ОСТОРОЖНО:

    Никогда не допускайте попадания пальцев в поршни.

  • 5. Снимите уплотнения поршня с корпуса цилиндра с помощью подходящего инструмента.

    ОСТОРОЖНО:

    Соблюдайте осторожность, чтобы не повредить внутреннюю стенку баллона.

  • 6. Снимите выпускной клапан и крышку.
  • 7. После разборки проведите осмотр.

Как собрать задний суппорт 2 поршня INFINITI Q50 ?

ОСТОРОЖНО:

Никогда не повреждайте суппорт.

Никогда не затягивайте и не ослабляйте внутренние и внешние крепежные болты суппорта.

  • 1. Установите выпускной клапан и колпачок.
  • 2. Нанесите новую тормозную жидкость на поршневые уплотнения и установите их на корпус цилиндра.

    ОСТОРОЖНО:

    Никогда не используйте поршневые уплотнения повторно.

  • Нанесите резиновую смазку на пыльники поршней. Наденьте пыльник на конец поршня, затем надёжно зафиксируйте край пыльника со стороны цилиндра в канавке на суппорте.

    ОСТОРОЖНО:

    Никогда не используйте поршневые уплотнения повторно.

  • 3. Нанесите новую тормозную жидкость на поршни. Вручную вдавите поршень в суппорт и заведите край пыльника со стороны поршня в его канавку.

    ОСТОРОЖНО:

    Надавливайте на поршни равномерно и перемещайте точку нажатия, чтобы не повредить внутреннюю стенку цилиндра.

  • 5. Установите стопорное кольцо.

    ОСТОРОЖНО:

    Убедитесь, что пыльник надёжно зафиксирован в канавке суппорта. • Не используйте стопорное кольцо повторно.

  • 6. Установите суппорт и затяните болты крепления узла тормозного суппорта с указанным моментом затяжки.