Замена радиатора INFINITI QX70

Замена радиатора INFINITI QX70

Стоимость работ:
3 450 

Запчасти и расходники

Наименование Производитель Номер Стоимость
Радиатор охлаждения INFINITI FX35/FX37/FX50 (S51) 3,5/3,7/5,0 [AT] 214601BF5A NISSAN (GLOBAL) 214601BF5A 54 710 руб.

Как поменять радиатор на автомобиле INFINITI QX70

Как заменить радиатор ИНФИНИТИ QX70

Исправный радиатор — основа эффективного охлаждения двигателя вашего INFINITI QX70. При замене наши мастера тщательно проверяют состояние патрубков, вентиляторов, датчиков температуры и уровня антифриза. Это позволяет выявить скрытые проблемы, такие как микротрещины или коррозия, и сразу устранить их.

Основные признаки неисправности радиатора:

  • Постоянное снижение уровня антифриза без видимых причин
  • Видимые подтеки охлаждающей жидкости на ребрах радиатора
  • Перегрев двигателя при движении в пробках или на подъемах
  • Повреждения сот радиатора от камней или коррозии
  • Трещины в пластиковых бачках радиатора
  • Следы масла в системе охлаждения

Процедура замены включает:

  • Тщательную диагностику состояния системы охлаждения
  • Слив охлаждающей жидкости в специальную емкость
  • Демонтаж защитных кожухов и элементов переднего бампера
  • Аккуратное отсоединение всех подводящих патрубков
  • Снятие штатного радиатора с крепежных элементов
  • Очистку посадочных поверхностей от загрязнений
  • Установку нового оригинального радиатора
  • Подключение всех патрубков с заменой уплотнителей
  • Заправку системы свежим антифризом
  • Удаление воздушных пробок из системы охлаждения
  • Контроль герметичности соединений под давлением
  • Тестовую проверку работы системы на разных режимах

Техническое примечание:

Радиатор INFINITI QX70 представляет собой сложный теплообменник из алюминиевых сплавов с пластиковыми бачками. В зависимости от комплектации может быть интегрирован с радиатором автоматической трансмиссии и кондиционера, что требует особого подхода к замене.

Замена помпы системы охлаждения

радиатор схема infiniti QX70
  1. 1. Верхний монтажный кронштейн
  2. 2. Монтажная резина (верхняя)
  3. 3. Радиатор
  4. 4. Монтажная резина (нижняя)
  5. 5. Зажим
  6. 6. Шланг радиатора (нижний)
  7. 7. Шланг радиатора (верхний)
  8. 8. Сливная пробка
  9. 9. Уплотнительное кольцо
  10. 10. Уплотнительное кольцо
  11. 11. Заглушка для сброса воздуха
  12. 12. Зажим
  13. 13. Шланг охладителя жидкости кондиционера
  14. 14. Шланг охладителя жидкости кондиционера
  15. 15. Вентилятор охлаждения в сборе
  16. 16. Втулка
  17. 17. Резервуар
  18. 18. Шланг для бака-накопителя
  19. 19. Шланг для бака-накопителя
  20. 20. Зажим
  21. 21. Крышка бака-накопителя
  • A. К выпускному отверстию для воды (спереди)
  • B. К впускному отверстию для воды
  • C. К выпускному отверстию для воды (спереди)
  • D. К трубопроводу охладителя жидкости кондиционера

Как снять радиатор охлаждения двигателя INFINITI QX70 ?

ОСТОРОЖНО:

Никогда не снимайте крышку радиатора при горячем двигателе. Попадание охлаждающей жидкости под высоким давлением из водозаборного отверстия двигателя может привести к серьезным ожогам. Оберните крышку плотной тканью. Медленно поверните ее на четверть оборота, чтобы сбросить повышенное давление. Осторожно снимите крышку радиатора, повернув ее до упора.

ПРИМЕЧАНИЕ:

При снятии таких компонентов, как шланги, трубки/магистрали и т.д., закройте отверстия крышкой или заглушкой, чтобы предотвратить проливание жидкости.

  • 1. Снимите следующие детали:
    • Двигатель под крышкой, используя электроинструмент.
    • Крышка двигателя и крышка машинного отделения (RH и LH)
    • Корпус воздухоочистителя
    • Воздуховод (впускное отверстие)
    • Фиксатор капота в сборе и звуковой сигнал
  • 2. Снимите конденсатор.
  • 3. Слейте охлаждающую жидкость из радиатора двигателя.

    ОСТОРОЖНО:

    • Выполняйте это действие, когда двигатель холодный.
    • Никогда не проливайте охлаждающую жидкость двигателя на приводные ремни.
  • 4. Отсоедините шланги охладителя жидкости кондиционера от радиатора.
    • Установите глухую заглушку, чтобы избежать утечки жидкости кондиционера.
  • 5. Снимите шланги радиатора (верхний и нижний) и шланг бачка коллектора.

    ОСТОРОЖНО:

    • Следите за тем, чтобы охлаждающая жидкость двигателя не попала на приводные ремни.
    • Ни в коем случае не ослабляйте крепежный винт патрубка впуска воды в радиатор (A). В случае ослабления замените радиатор (1).
      • 2: Впускная труба для воды в радиатор
  • 6. Поверните два верхних кронштейна крепления радиатора на 90 градусов в направлении, показанном на рисунке, и снимите их.
    • 1 : Верхний монтажный кронштейн радиатора
    • A : Поверните на 90° против часовой стрелки
  • 7. Снимите радиатор следующим образом:

    ОСТОРОЖНО:

    Будьте осторожны, чтобы не повредить сердечник радиатора.

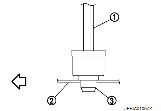
a. Поднимите и потяните радиатор (1) вперед, а затем снимите монтажную резинку (нижнюю) (3) с опоры сердечника радиатора (2).

  • Изображение стрелки указывает на перед автомобиля

b. Снимите радиатор (1) с передней части опоры сердечника радиатора (2).

  • Изображение стрелки указывает на перед автомобиля

Как установить радиатор охлаждения двигателя INFINITI QX70 ?

Обратите внимание на следующее и устанавливайте в порядке, обратном снятию.

ОСТОРОЖНО:

  • Не используйте уплотнительные кольца повторно.
  • Для крепления вентилятора в сборе используйте оригинальные крепежные болты и строго соблюдайте момент затяжки. (Для предотвращения поломки радиатора)

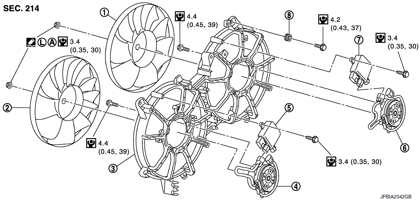
Схема вентилятора охлаждения INIFINITI QX70

радиатор схема infiniti QX70
  • 1. Охлаждающий вентилятор (RH)
  • 2. Охлаждающий вентилятор (LH)
  • 3. Кожух вентилятора
  • 4. Двигатель вентилятора (LH)
  • 5. Модуль управления вентилятором охлаждения
  • 6. Двигатель вентилятора (RH)
  • 7. Модуль управления вентилятором охлаждения
  • 8. Втулка
  • A. Нанесите на вал двигателя вентилятора
  • Изображение с тюбиком и L в кругу - нанесите высокопрочный герметик для фиксации резьбы или аналогичный герметик.

Как снять вентилятор охлаждения двигателя INFINITI QX70 ?

  • 1. Слейте охлаждающую жидкость из двигателя.
  • 2. Снимите бачок-накопитель.
  • 3. Снимите корпус воздухоочистителя.
  • 4. Выверните крепежный болт из кронштейна гибкого шланга высокого давления.
  • 5. Снимите шланг радиатора (верхний).
  • 6. Отсоедините разъем жгута проводов от модулей управления вентиляторами охлаждения и отодвиньте жгут проводов в сторону.
  • 7. Снимите вентилятор охлаждения в сборе.

    ОСТОРОЖНО:

    Будьте осторожны, чтобы не повредить и не поцарапать сердечник радиатора.

Как установить вентилятор охлаждения двигателя INFINITI QX70 ?

Обратите внимание на следующее и устанавливайте в порядке, обратном снятию.

ОСТОРОЖНО:

Для крепления болта вентилятора охлаждения используйте только оригинальные детали и соблюдайте указанный момент затяжки (во избежание повреждения радиатора).