Передняя ступица замена ступицы INFINITI QX80

Передняя ступица замена ступицы INFINITI QX80

Стоимость работ:
2 880 

Запчасти и расходники

Наименование Производитель Номер Стоимость
Ступица передняя (оригинал) Nissan Patrol Y62 '2010- NISSAN (GLOBAL) 402021LB0B 37 520 руб.
Ступица передняя Nissan Patrol PATROL Y62 402021LB0A NISSAN (GLOBAL) 402021LB0A 54 150 руб.
Ступица передняя (MASUMA) Nissan Patrol Y62 Masuma (Япония) MW21020 10 440 руб.
Шпилька ступицы Nissan 432221LB0A NISSAN (GLOBAL) 432221LB0A 580 руб.

Замена передней ступицы на автомобиле INFINITI QX80

Замена передней ступицы QX80

Признаки неисправности передней ступицы:

  • Гул или вой при движении, усиливающийся на поворотах
  • Вибрации на скорости от 60 км/ч
  • Индикатор ABS горит на приборной панели
  • Люфт колеса при покачивании
  • Перегрев ступицы после поездки

Исправная передняя ступица – залог безопасного движения! Передняя ступица вашего QX80 отвечает за плавность хода, правильную работу ABS и отсутствие вибраций. Изношенная ступица не только создает дискомфорт при движении, но и снижает безопасность вашего автомобиля.

Передняя ступица замена INFINITI QX80

передняя ступица замена схема INFINITI QX80
  1. Поворотный кулак
  2. Шплинт
  3. Брызговик
  4. Болт ступицы
  5. Ступица колеса и подшипник в сборе
  6. Дисковый ротор
  • A. Затягивание должно производиться в соответствии с процедурой установки.

Как снять заднюю ступицу?

  • 1. Снимите шины с помощью электроинструмента.
  • 2. Снимите кронштейн тормозного шланга.
  • 3. Выверните болты крепления суппорта в сборе. Повесьте тормозной суппорт в сборе в таком месте, где он не будет мешать работе.

    ВНИМАНИЕ:

    Никогда не нажимайте на педаль тормоза при снятом тормозном суппорте.

  • 4. Снимите дисковый привод.

    ВНИМАНИЕ:

    Перед снятием дискового ротора нанесите соответствующие метки на ступицу колеса и подшипниковый узел, а также на дисковый ротор.

    Никогда не роняйте дисковый ротор.

  • 5. Снимите жгут проводов колесного датчика.

    ВНИМАНИЕ:

    Никогда не тяните за жгут проводов колесного датчика.

  • 6. Снимите наружный разъем рулевого управления.
  • 7. Установите подходящее гнездо под нижнюю тягу.
  • 8. Выверните болт крепления амортизатора с нижней тяги.
  • 9. Отделите верхнюю тягу от поворотного кулака, используя съемник шаровой опоры (инструмент для коммерческого обслуживания), и снимите верхнюю тягу.

    ВНИМАНИЕ:

    Временно затяните гайку, чтобы предотвратить повреждение резьбы и внезапное соскальзывание съемника шаровой опоры.

    Ни в коем случае не повреждайте опору шаровой опоры.

  • 10. Снимите ступицу колеса и подшипник в сборе, а затем снимите брызговик.
  • 11. Снимите нижнюю тягу с поворотного кулака.

    ВНИМАНИЕ:

    Никогда не повреждайте опору шаровой опоры.

  • 12. Снимите поворотный кулак.
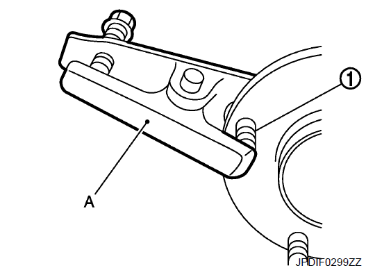
  • 13. Выверните болты ступицы (1) из ступицы колеса и подшипникового узла, используя приспособление для снятия шаровых шарниров (A) (инструмент для коммерческого обслуживания).

    ВНИМАНИЕ:

    Снимайте болт ступицы только при необходимости.

    Никогда не забивайте болт ступицы молотком, чтобы избежать повреждения ступицы колеса и подшипникового узла.

    Выверните болт ступицы в направлении, перпендикулярном ступице колеса и подшипниковому узлу.

  • 14. После снятия проведите осмотр.

Установка передней ступицы

  • Обратите внимание на следующее и выполняйте установку в порядке, обратном снятию.
  • Установите подходящую шайбу (A), как показано на рисунке, для установки болтов ступицы (1), используя усилие затяжки гайки (B).

    Момент затяжки : 118 – 123 N·m (12.1 – 12.5 kg-m, 87 – 90 ft-lb)

    ВНИМАНИЕ:

    Убедитесь в отсутствии зазора между ступицей колеса и подшипниковым узлом, а также болтом ступицы.

    Никогда не используйте болт ступицы повторно.

Завершающую затяжку каждой из деталей, которые были сняты при снятии передней ступицы колеса, подшипникового узла и поворотного кулака, выполняйте без нагрузки.

Никогда не используйте шплинт повторно.

После установки проведите проверку.