Задняя ступица замена ступицы INFINITI QX80

Задняя ступица замена ступицы INFINITI QX80

Стоимость работ:
2 010 

Запчасти и расходники

Наименование Производитель Номер Стоимость
Ступица задняя в сборе (оригинал) Infiniti Z62/Y62 NISSAN (GLOBAL) 432021LA0A 39 830 руб.
Ступица задняя Nissan Patrol Y62 '2010- NISSAN (GLOBAL) 432021LB0A 50 300 руб.
Шпилька ступицы Nissan 432221LB0A NISSAN (GLOBAL) 432221LB0A 580 руб.

Замена задней ступицы на автомобиле INFINITI QX80

Замена задней ступицы QX80

Признаки неисправности задней ступицы:

  • Гул или вой при движении, усиливающийся на поворотах
  • Вибрации на скорости от 60 км/ч
  • Индикатор ABS горит на приборной панели
  • Люфт колеса при покачивании
  • Перегрев ступицы после поездки

Исправная задняя ступица – залог безопасного движения! Задняя ступица вашего QX80 отвечает за плавность хода, правильную работу ABS и отсутствие вибраций. Изношенная ступица не только создает дискомфорт при движении, но и снижает безопасность вашего автомобиля.

Задняя ступица замена INFINITI QX80

задняя ступица замена схема INFINITI QX80
  1. Корпус оси
  2. Втулка
  3. Задняя панель
  4. Анкерный блок
  5. Болт ступицы
  6. Ступица колеса и подшипник в сборе с датчиком ABS
  7. Диск ротор
  8. Плуг
  9. Стопорная гайка ступицы колеса
  10. Регулировочная гайка
  11. Шплинт
  • A. Затягивание должно производиться в соответствии с процедурой установки.

Как снять заднюю ступицу?

  • 1. Снимите шины с помощью электроинструмента.
  • 2. Снимите кронштейн тормозного шланга с рычага подвески.
  • 3. Снимите суппорт в сборе. Повесьте тормозной суппорт в сборе в таком месте, где он не будет мешать работе.

    ВНИМАНИЕ:

    Никогда не нажимайте на педаль тормоза при снятом суппорте в сборе.

  • 4. Снимите дисковый привод. Если дисковый ротор не может быть снят, снимите его следующим образом.

    ВНИМАНИЕ:

    • Стояночный тормоз полностью отпущен.
    • Перед снятием дискового ротора нанесите соответствующие метки на ступицу колеса и подшипниковый узел, а также на дисковый ротор.
    • Никогда не роняйте дисковый ротор.
  • a. Закрепите дисковый ротор колесными гайками и снимите заглушку с регулировочного отверстия.
  • b. Используя подходящий инструмент, поверните регулятор (1) в направлении (A), чтобы втянуть и ослабить тормозную колодку.
  • 5. Снимите жгут проводов колесного датчика.
  • 6. Снимите колодку стояночного тормоза и трос стояночного тормоза с задней панели.
  • 7. Снимите датчик высоты с задней нижней тяги (справа).
  • 8. Снимите датчик высоты автомобиля с задней нижней тяги (слева).
  • 9. Установите подходящий домкрат под заднюю нижнюю тягу.
  • 10. Снимите заднюю нижнюю тягу с корпуса моста.
  • 11. Снимите спиральную пружину.
  • 12. Снимите шплинт и регулировочный колпачок, затем ослабьте контргайку ступицы колеса.
  • 13. Нанесите соответствующую метку (А) на приводной вал, ступицу колеса и подшипниковый узел.

    ВНИМАНИЕ:

    Используйте краску или аналогичное вещество для нанесения соответствующих меток. Ни в коем случае не царапайте поверхность.

  • 14. Закрепите контргайку ступицы колеса куском дерева. Забейте молотком по дереву, чтобы отсоединить ступицу колеса и подшипниковый узел от приводного вала.

    ВНИМАНИЕ:

    • Никогда не устанавливайте шарнир приводного вала под большим углом. Также следите за тем, чтобы не перетянуть скользящий шарнир слишком сильно.
    • Никогда не допускайте, чтобы приводной вал свисал вниз без опоры на ответные части, такие как узел соединения и другие детали.

ВНИМАНИЕ:

Используйте подходящий съемник, если ступицу колеса, подшипниковый узел и приводной вал не удается разъединить даже после выполнения описанной выше процедуры.

  • 15. Снимите контргайку ступицы колеса.
  • 16. Снимите рычаг подвески с корпуса моста.
  • ВНИМАНИЕ:

    Никогда не повреждайте башмак шаровой опоры.

  • 17. Снимите переднюю нижнюю тягу с корпуса моста.

    ВНИМАНИЕ:

    Никогда не повреждайте опору шаровой опоры.

  • 18. Снимите корпус оси.
  • 19. Снимите ступицу колеса и подшипниковый узел.
  • 20. Отверните гайки крепления анкерного блока, а затем снимите анкерный блок и заднюю панель с корпуса оси.
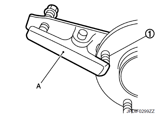
  • 21. Выверните болты ступицы (1) из ступицы колеса и подшипникового узла, используя приспособление для снятия шаровых шарниров (A) (инструмент для коммерческого обслуживания).

    ВНИМАНИЕ:

    • Снимайте болт ступицы только при необходимости.
    • Никогда не забивайте болт ступицы молотком, чтобы избежать повреждения ступицы колеса и подшипникового узла.
    • Выверните болт ступицы в направлении, перпендикулярном ступице колеса и подшипниковому узлу.
  • 22. После снятия проведите осмотр.

Как установить заднюю ступицу ?

Как установить заднюю ступицу?

Установите подходящую шайбу (A), как показано на рисунке, для установки болтов ступицы (1), используя усилие затяжки гайки (B).

ВНИМАНИЕ:

  • Убедитесь в отсутствии зазора между ступицей колеса и подшипниковым узлом, а также болтом ступицы.
  • Никогда не используйте болт ступицы повторно.

Очистите соответствующую поверхность контргайки ступицы колеса, ступицы колеса и подшипникового узла.

ВНИМАНИЕ:

Никогда не наносите смазочное масло на соответствующие поверхности.

Очистите соответствующие поверхности приводного вала, ступицы колеса и подшипникового узла. А затем нанесите пасту [сервисные детали (440037S000)] на поверхность (А) узла соединения приводного вала.

ВНИМАНИЕ:

Нанесите пасту так, чтобы покрыть всю плоскую поверхность узла соединения приводного вала.

Количество пасты 1,0 – 3,0 г (0,04 – 0,10 унции)

ВНИМАНИЕ:

Поскольку приводной вал собирается запрессовкой, используйте диапазон моментов затяжки контргайки ступицы колеса.

Обязательно используйте динамометрический ключ для затяжки контргайки ступицы колеса. Никогда не пользуйтесь электроинструментом.

ПРИМЕЧАНИЕ:

Момент затяжки контргайки ступицы колеса не должен превышать момент затяжки, чтобы избежать шума на оси, и не должен быть меньше момента затяжки, чтобы избежать ослабления.

Выполните окончательную затяжку каждой детали без нагрузки, которая была снята при снятии ступицы колеса, подшипникового узла и корпуса оси.

При установке регулировочного колпачка убедитесь в отсутствии люфта.

Никогда не используйте повторно шплинт, контргайку ступицы колеса и втулку.

После установки проведите проверку.