Замена радиатора охлаждения INFINITI QX80
Запчасти и расходники
| Наименование | Производитель | Номер | Стоимость |
|---|---|---|---|
| Радиатор охлаждения двигателя Nissan Patrol Y62 \ Z62 | NISSAN (GLOBAL) | 214101LL0A | 73 950 руб. |
| Патрубок радиатора охлаждения нижний Nissan Y62 Z62 215031LA0B | NISSAN (GLOBAL) | 215031LA0B | 2 100 руб. |
| Промывка системы охлаждения синтетическая EXPRESS LAVR, 310 мл Ln1107N | LAVR (Россия) | Ln1107N | 580 руб. |
| Радиатор охлаждения двигателя (LUZAR) Nissan Patrol Y62 \ Z62 | LUZAR (Россия) | LRC14110 | 26 070 руб. |
| Радиатор охлаждения двигателя (RCL) Nissan Patrol Z62 | RCL RADIATORS (Тайвань) | RN2175A | 28 750 руб. |
| Радиатор охлаждения двигателя (широкий) Nissan Patrol Y62 / QX56 | SAT (Китай) | NS00141 | 14 850 руб. |
Замена радиатора охлаждения на автомобиле INFINITI QX80
Замена радиатора охлаждения QX80
Когда нужна замена радиатора?
- Видимые трещины или подтеки антифриза
- Перегрев двигателя даже при коротких поездках
- Снижение уровня охлаждающей жидкости
- Ржавчина или загрязнение сот радиатора
- Пробег более 150 000 км (рекомендуемая профилактика)
Исправный радиатор — гарантия защиты двигателя от перегрева! Радиатор охлаждения в вашем QX80 — ключевой элемент системы, отвечающий за эффективный теплообмен. При повреждениях или засорении радиатора двигатель начинает перегреваться, что может привести к серьезным поломкам.
Замена радиатора охлаждения ДВС
- Крышка радиатора
- Радиатор
- Монтажная резинка (верхняя)
- Монтажная резинка (нижняя)
- Зажим
- Патрубок - шланг радиатора (нижний)
- Уплотнительное кольцо
- Сливная пробка
- Кожух вентилятора (нижний)
- Кожух вентилятора (верхний)
- Патрубок - шланг радиатора (верхний)
- Монтажная резина (нижний)
- Патрубок - шланг бачка-накопителя
- Бачок-накопитель
- Патрубок - шланг бачка-накопителя
- Зажим
- Крышка бачка-накопителя
- A. К радиатору
- B. К выходу воды
- C. К входу воды
- Изображение гаечного ключа указывает момент затяжки
Как снять радиатор INFINITI QX80?
ВНИМАНИЕ:
Никогда не снимайте крышку радиатора при горячем двигателе. Попадание охлаждающей жидкости под высоким давлением из водозаборного отверстия двигателя может привести к серьезным ожогам . Оберните крышку плотной тканью. Медленно поверните ее на четверть оборота, чтобы сбросить повышенное давление. Осторожно снимите крышку радиатора, повернув ее до упора. Обратите внимание, что боковая сторона крышки бачка также находится под давлением.
- Снимите защиту картера и верхнюю пластиковую крышку двигателя
- Слейте антифриз из радиатора двигателя.
ВНИМАНИЕ:
- Выполняйте это действие, когда двигатель холодный.
- Никогда не проливайте охлаждающую жидкость двигателя на приводные ремни.
- Снимите шланг радиатора (нижний).
- Снимите кожух вентилятора (нижний).
- Переместите резервуар в положение, не препятствующее работе.
- Снимите опорную крышку радиатора.
- Снимите кожух вентилятора (верхний), см. следующее.
- a. Выверните болты крепления шланга EVAP и отодвиньте жгут проводов в сторону.
- b. Установите корпус воздухоочистителя в нужное положение, чтобы он не мешал работе.
ПРИМЕЧАНИЕ:
Отсоединять разъем корпуса воздухоочистителя не требуется.
- Снимите решетку радиатора.
- Переместите конденсатор в нужное положение, не создавая помех для работы, выполнив следующие действия.
- Выверните крепежные болты и отсоедините трубопровод кондиционера от радиатора.
- Снимите воздуховод с радиатора.
- Выверните крепежные болты радиатора.
- Снимите шланг радиатора (верхний)
ПРИМЕЧАНИЕ:
Будьте осторожны, чтобы не повредить сердечник радиатора.
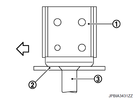
- Поднимите и потяните радиатор (1) вперед, а затем снимите монтажную резинку (нижнюю) (3) с опоры сердечника радиатора (2).
Стрелкой указан перед автомобиля
Как установить радиатор INFINITI QX80?
Обратите внимание на следующее и устанавливайте в порядке, обратном снятию.
ВНИМАНИЕ:
- Используйте оригинальные крепежные болты для вентилятора охлаждения в сборе и строго соблюдайте момент затяжки. (Для предотвращения поломки радиатора)
ПРИМЕЧАНИЕ:
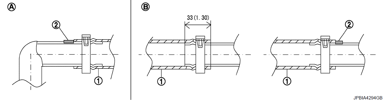
Вставьте шланг радиатора (1) до упора (2) или на 33 мм (1,30 дюйма) (шланг без пробки).
- Единица измерения, мм (дюйм.)
Положение хомутов соединений патрубков
- A. Сторона радиатора
- B. Сторона двигателя
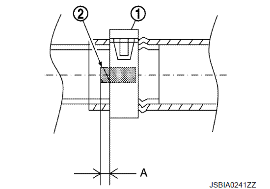
Как должны стоять хомуты патрубков?
Положение защелки хомута для шланга показано на рисунке.
| Шланг радиатора | Конец шланга | Отметка на краске | Положение хомута для шланга* |
|---|---|---|---|
| Шланг радиатора (верхний) | Сторона радиатора | Верхняя | A |
| Сторона двигателя | Верхняя | B | |
| Шланг радиатора (нижний) | Сторона радиатора | Нижняя | C |
| Сторона двигателя | Левая | D |
Угол (b), создаваемый защелкой хомута для шланга и указанной линией (A), должен находиться в пределах ±15°, как показано на рисунке.
Чтобы установить хомуты для шланга (1), убедитесь, что расстояние (А) от конца отметки краски (2) на шланге радиатора до хомута для шланга находится в пределах контрольного значения.
Размер “A” : (-1) – (+1) мм