Замена задних амортизаторов INFINITI QX80

Замена задних амортизаторов INFINITI QX80

Стоимость работ:
1 590 

Запчасти и расходники

Наименование Производитель Номер Стоимость
Амортизатор задний правый Nissan Patrol Y62 '2010- NISSAN (GLOBAL) E62101LB7A 48 690 руб.
Амортизатор задний левый Nissan Patrol Y62 '2010- NISSAN (GLOBAL) E62111LB7A 50 800 руб.
Амортизатора задний правый Nissan E62101LB7B NISSAN (GLOBAL) E62101LB7B 47 090 руб.
Амортизатор задний правый Nissan Y62 - E62101LB9B NISSAN (GLOBAL) E62101LB9B 46 390 руб.

Задние амортизаторы замена на автомобилеINFINITI QX80

Замена задних амортизаторов QX80

Признаки неисправности задних амортизаторов:

  • Автомобиль «раскачивается» на волнах и после кочек
  • Появился стук в задней подвеске
  • Шины изнашиваются неравномерно
  • Увеличился тормозной путь
  • Подтеки масла на стойках амортизаторов

Плавность хода и контроль на любом покрытии — заслуга исправных амортизаторов! Задние амортизаторы вашего INFINITI QX80 отвечают за комфорт, устойчивость и безопасность, особенно при нагрузке или движении по бездорожью. Не ждите полного выхода амортизаторов из строя! Доверьте замену специалистам по внедорожникам — ваш INFINITI QX80 снова обретет фирменную плавность хода.

Задние амортизаторы замена QX80

Задние амортизаторы БЕЗ HBMC

Задние амортизаторы схема QX80
  1. Стопорная гайка штока поршня
  2. Шайба
  3. Втулка
  4. Амортизатор
  5. Передняя нижняя тяга
  • Изображение гаечного ключа указывает на момент затяжки

Задние амортизаторы HBMC

задние амортизаторы схема QX80
  1. Стопорная гайка штока поршня
  2. Кронштейн
  3. Втулка
  4. Амортизатор
  5. Передняя нижняя тяга
  • Изображение гаечного ключа указывает на момент затяжки

Задние амортизаторы замена

  1. Уменьшите давление в системе. (Для амортизаторов с HBMC)

    HBMC - система подавления качения кузова.

    ОСТОРОЖНО:

    Неосторожное снятие трубопровода может привести к разбрызгиванию жидкости.

  2. Снимите колеса.
  3. Снимите датчик высоты с задней нижней тяги (справа).
  4. Снимите датчик высоты автомобиля с задней нижней тяги (слева).
  5. Снимите воздушную трубку с амортизатора в сборе.
  6. Снимите среднюю трубку с амортизатора в сборе. (С HBMC)
  7. Выверните болт крепления амортизатора (с нижней стороны).
  8. Снимите контргайку штока поршня.
  9. Снимите кронштейн, втулки и амортизатор. (С HBMC)
  10. Снимите шайбы, втулки и амортизатор. (Без HBMC)
  11. После снятия проведите осмотр.

Как установить задние амортизаторы?

Обратите внимание на следующее и выполняйте установку в порядке, обратном снятию.

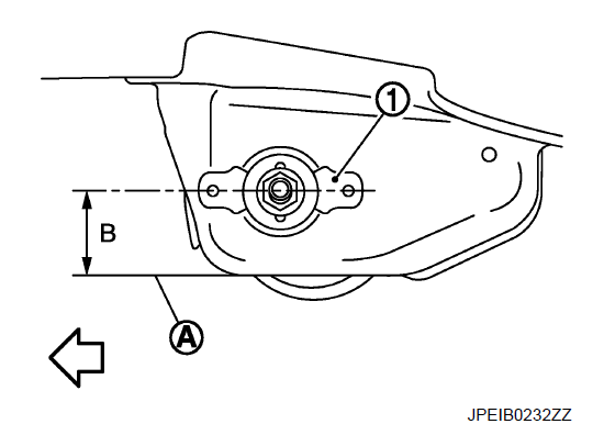
  • При установке кронштейна (1) убедитесь, что кронштейн закреплен так, как показано на рисунке. (С HBMC)
  • Изображение стрелки указывает на перед автомобиля
  • A : Линия края рамы
  • B : Почти параллельна
  • Используйте держатель (A) [SST: KV10109300 ( − )] и подходящий инструмент (B) для затяжки контргайки штока поршня, чтобы избежать смещения кронштейна. (С HBMC)
  • Установите воздушную трубку на амортизатор в сборе.
  • Окончательно затяните болты и гайки на нижней стороне амортизатора (резиновой втулке) в условиях без нагрузки, когда шины находятся на ровной поверхности.
  • После установки выполните проверку.
  • После замены амортизатора всегда соблюдайте процедуру утилизации чтобы выбросить амортизатор.

Как снять датчик уровня пола ?

Датчик уровня пола QX80
  1. Элемент задней подвески
  2. Задний датчик высоты
  3. Нижняя тяга задней подвески
  • Изображение гаечного ключа указывает момент затяжки

Как снять задний датчик уровня пола?

  1. Отсоедините разъем датчика высоты.
  2. Открутите гайки крепления датчика высоты.
  3. Снимите датчик высоты.