Радиатор замена INFINITI G

Радиатор замена INFINITI G

Стоимость работ:
14 950 

Запчасти и расходники

Наименование Производитель Номер Стоимость
Вентилятор в сборе J50 S51 21481JK60B NISSAN (GLOBAL) 21481JK60B 42 930 руб.
Радиатор охлаждения двигателя (RCL) INFINITI Q50 2013-2022 (V37) 3,0/3,5 Hybrid/3,7 [AT] RCL RADIATORS (Тайвань) RN2177A 0 руб.

Как поменять радиатор на автомобиле INFINITI G?

Замена радиатора двигателя ИНФИНИТИ G

Обнаружены подтеки охлаждающей жидкости под передней частью автомобиля? Температура двигателя стала нестабильной и превышает норму даже при обычной езде? На радиаторе видны следы повреждений, коррозии или засорения сот? Эти признаки указывают на необходимость замены радиатора системы охлаждения. Своевременное восстановление охлаждающей способности критически важно для двигателя вашего INFINITI G.

Основные симптомы, указывающие на необходимость замены радиатора:

  • Постоянное снижение уровня охлаждающей жидкости в расширительном бачке при отсутствии видимых внешних утечек.
  • Видимые подтеки антифриза на ребрах радиатора или в местах соединения пластиковых бачков с алюминиевым сердечником.
  • Перегрев двигателя при движении в пробках, на подъемах или при работе кондиционера.
  • Повреждения сот радиатора от камней, насекомых или коррозии, снижающие эффективность охлаждения.
  • Маслянистые следы в охлаждающей жидкости (признак повреждения теплообменника АКПП внутри радиатора).
  • Трещины или разрушение пластиковых бачков радиатора.
  • Белый дым из выхлопной трубы или пена в расширительном бачке (признаки серьезных проблем).

Процедура замены включает:

  1. Диагностика: Компьютерная диагностика системы управления двигателем и визуальная проверка состояния всей системы охлаждения, включая вентиляторы, термостат и патрубки. Проверка системы под давлением (опрессовка) для выявления скрытых утечек.
  2. Подготовка: Полный слив охлаждающей жидкости в специальную емкость с соблюдением экологических норм. Снятие защиты картера и элементов переднего бампера для обеспечения доступа. Демонтаж вентиляторов охлаждения (при необходимости).
  3. Демонтаж: Аккуратное отсоединение верхнего и нижнего патрубков системы охлаждения. Отсоединение трубок масляного радиатора АКПП (при наличии) с заглушкой отверстий для предотвращения вытекания трансмиссионной жидкости. Снятие электрических разъемов датчиков. Откручивание крепежных элементов и демонтаж радиатора.
  4. Переустановка компонентов: При необходимости перенос кронштейнов и резиновых подушек со старого радиатора на новый. Тщательная очистка посадочных мест.
  5. Установка нового радиатора: Монтаж нового оригинального радиатора или качественного аналога (Koyorad, Spectra Premium, gpd) . Подключение всех патрубков с обязательной заменой уплотнительных колец и хомутов. Подключение трубок масляного радиатора АКПП с обеспечением герметичности.
  6. Сборка: Установка вентиляторов охлаждения, подключение всех электрических разъемов. Монтаж снятых защитных элементов.
  7. Заправка и проверка: Заправка системы свежим оригинальным антифризом, рекомендованным производителем. Удаление воздушных пробок из системы охлаждения с помощью специального оборудования. Контроль герметичности всех соединений под рабочим давлением. Проверка работы вентиляторов охлаждения и термостата на всех режимах. Тестовый заезд для контроля температурного режима двигателя.

Техническое примечание:

На автомобилях INFINITI G с двигателями серии VQ (VQ35DE, VQ35HR, VQ37VHR) помпа системы охлаждения приводится в действие приводным ремнем и расположена на передней стороне двигателя . Согласно регламенту производителя, замена водяного насоса рекомендуется каждые 168 000 км пробега или 84 месяца эксплуатации. Оригинальные номера помпы для данной модели: B1010JK20A (заменяет более ранние номера 21010-7Y025, 21010-7Y026). Качественные аналоги производят AISIN (артикул WPN-116) , Gates (артикул GAT-43520) и другие проверенные бренды.

Замена радиатора системы охлаждения на автомобиле INFINITI G – восстановление эффективного теплового режима и защита двигателя от перегрева

Не рискуйте работоспособностью двигателя вашего INFINITI G. Неисправный или засоренный радиатор неизбежно приведет к перегреву, деформации головки блока цилиндров и дорогостоящему капитальному ремонту. Своевременная замена радиатора – это инвестиция в надежность и долговечность силового агрегата.

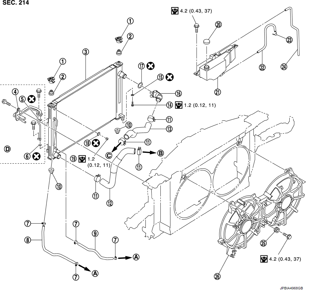
радиатор двс двигателя схема установки инфинити infiniti G
  1. Верхний монтажный кронштейн
  2. Монтажная резина (верхняя)
  3. Радиатор и конденсатор в сборе
  4. Патрубок конденсатора в сборе
  5. Уплотнительное кольцо
  6. Уплотнительное кольцо-уплотнитель
  7. Зажим
  8. Шланг для охлаждения жидкости кондиционера (модели A/T)
  9. Шланг охладителя жидкости кондиционера (модели A/T)
  10. Монтажная резина (нижняя)
  11. Зажим
  12. Шланг радиатора (нижний)
  13. Шланг радиатора (верхний)
  14. Сливная пробка
  15. Уплотнительное кольцо
  16. Патрубок для подвода воды в радиатор
  17. Уплотнительное кольцо
  18. Уплотнительное кольцо
  19. Заглушка для сброса воздуха
  20. Крышка бака-накопителя
  21. Бачок-накопитель
  22. Шланг бака-накопителя
  23. Зажим
  24. Шланг бака-накопителя
  25. Втулка
  26. Вентилятор охлаждения радиатора в сборе

Как поменять радиатор двигателя INFINITI G ?

ВНИМАНИЕ!

Никогда не откручивайте крышку радиатора при горячем двигателе.

Попадание охлаждающей жидкости под высоким давлением из системы охлаждения двигателя может привести к серьезным ожогам лица. Оберните крышку плотной тканью. Медленно поверните ее на четверть оборота, чтобы сбросить повышенное давление. Осторожно снимите крышку радиатора, повернув ее до упора.

  • 1. Снимите следующие детали:
    • Крышка двигателя
    • Корпус воздухоочистителя (RH и LH)
    • Бачок-накопитель
    • Орнамент на опоре сердечника радиатора, центр опоры сердечника радиатора
    • Звуковой сигнал
    • Блокировка капота
  • 2. Снимите патрубок конденсатора в сборе.
  • 3. Слейте охлаждающую жидкость из радиатора двигателя.

    ОСТОРОЖНО:

    Выполняйте это действие, когда двигатель холодный.

    Никогда не проливайте охлаждающую жидкость двигателя на приводной ремень.

  • 4. Отсоедините шланги кондиционера от радиатора. (Модели кондиционера)
    • Установите глухую заглушку, чтобы избежать утечки жидкости из кондиционера.
  • 5. Снимите шланги радиатора (верхний и нижний) и шланг бачка-накопителя.

    ОСТОРОЖНО:

    Никогда не допускайте попадания охлаждающей жидкости двигателя на приводной ремень.

  • 6. Снимите вентилятор охлаждения в сборе.
  • ОСТОРОЖНО:

    Никогда не повреждайте и не царапайте сердечник радиатора и конденсатора в сборе при снятии.

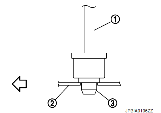
  • 7. Поверните два верхних кронштейна крепления радиатора на 90 градусов в направлении, показанном на рисунке, и снимите их.
    • 1 : Верхний монтажный кронштейн радиатора
    • A : Поверните на 90° против часовой стрелки
  • 8. Снимите радиатор и конденсатор в сборе следующим образом:

    ОСТОРОЖНО:

    Никогда не повреждайте сердечник радиатора и конденсатора в сборе.

  • a. Поднимите и потяните радиатор и конденсатор в сборе (1) вперед, а затем снимите монтажную резинку (нижнюю) (3) с опоры сердечника радиатора (2).
    • Изображение стрелки указывает на перед автомобиля
  • b. Снимите радиатор и конденсатор в сборе (1) с передней части опоры сердечника радиатора (2).
    • Изображение стрелки указывает на перед автомобиля

Как установить радиатор двигателя ?

Как поменять радиатор кондиционера INFINITI G ?

Обратите внимание на следующее и устанавливайте в порядке, обратном снятию.

ВНИМАНИЕ!

  • Не используйте уплотнительные кольца повторно.
  • Замените зажим для шланга подачи воды, если он снят.
  • Используйте оригинальные крепежные болты для вентилятора охлаждения в сборе и строго соблюдайте момент затяжки. (Предотвращение поломки радиатора)

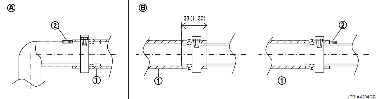
ПРИМЕЧАНИЕ:

Вставьте шланг радиатора (1) до упора (2) или на 33 мм (1,30 дюйма) (шланг без пробки).

радиатор как подключить патрубки инфинити infiniti G

Единица измерения, мм (дюйм.)

  • A. Сторона радиатора
  • B. Сторона двигателя

Положение защелки хомута для шланга показано на рисунке.

Патрубок радиатора Конец шланга Метка Положение хомута на патрубке*
Патрубок радиатора (верх) Сторона радиатора Верх A
Сторона двигателя Верх B
Патрубок радиатора (низ) Сторона радиатора Низ C
Сторона двигателя Правая сторона D

*Смотрите иллюстрации для указания конкретного положения каждого язычка хомута для шланга.

радиатор как подключить патрубки инфинити infiniti G
  • E : Вид E
  • f. : угол 45°
  • Изображение стрелки указывает на перед автомобиля
  • Угол (b), создаваемый защелкой хомута для шланга и указанной линией (A), должен находиться в пределах ±30°, как показано на рисунке.
  • Чтобы установить хомуты для шланга (1), убедитесь, что расстояние (A) от конца отметки краски (2) на шланге радиатора до хомута для шланга находится в пределах контрольного значения.

    Размер “A” (-1) – (+1) мм

Как снять вентилятор ?

Как снять вентилятор охлаждения двигателя INFINITI G ?

радиатор как подключить патрубки инфинити infiniti G
  • 1. Снимите накопительный бак.
  • 2. Снимите корпус воздухоочистителя (LH).
  • 3. Отсоедините разъем жгута проводов от модуля управления вентилятором охлаждения и отодвиньте жгут проводов в сторону.
  • 4. Извлеките двигатель из-под крышки с помощью электроинструмента.
  • 5. Извлеките вентилятор охлаждения в сборе из-под автомобиля.

    ОСТОРОЖНО:

    Будьте осторожны, чтобы не повредить и не поцарапать сердечник радиатора.

Как установить вентилятор охлаждения двигателя INFINITI G ?

Обратите внимание на следующее и устанавливайте в порядке, обратном снятию.

ОСТОРОЖНО:

Для крепления болта вентилятора охлаждения используйте только оригинальные детали и соблюдайте указанный момент затяжки (во избежание повреждения опоры сердечника).

Как разобрать и отсоединить вентилятор охлаждения двигателя INFINITI G ?

  • 1. Отсоедините жгут проводов от модуля управления вентилятором охлаждения.
  • 2. Снимите модуль управления вентилятором охлаждения с вентилятора охлаждения в сборе.

    ОСТОРОЖНО:

    Обращайтесь с ним осторожно, чтобы избежать падения и ударов.

  • 3. Открутите гайки крепления вентилятора охлаждения, а затем снимите вентилятор охлаждения (RH и LH).
  • 4. Снимите двигатели вентиляторов (RH и LH).

Как собрать вентилятор охлаждения двигателя INFINITI G ?

Обратите внимание на следующее и производите сборку в порядке, обратном разборке.

ОСТОРОЖНО:

Вентиляторы охлаждения RH и LH отличаются друг от друга. Будьте осторожны, чтобы не перепутать их.

  • Установите каждый вентилятор в следующем положении.

Правая сторона : 9 лопастей

Левая сторона : 11 лопастей

  • Плотно закрепите жгут проводов на кожухе вентилятора, чтобы предотвратить ослабление зоны вращения вентилятора.